好房網News記者簡蕭羽濤/整理報導
許多子女將長輩送到養老院,是想讓他們獲得更完善的照顧,但其實無形中卻把這些老人推入火坑。根據國家災害防救科技中心調查,全台位於水災及土石流災害潛勢區內的老人福利機構有80家,身心障礙福利機構有28家,總計高達108家,如果發生意外,後果不堪設想。因此建議民眾,可以先了解水土保持,才好預防水災滅頂的危機。
福利機構應避免蓋在高風險的區域,安全為首要考量,才能確保老人受到完善的照顧。(截取自中時電子報)

4年前的凡那比颱風造成高雄大淹水,當時位於高雄縣岡山鎮普德老人養護中心,有17名老人差點遭到滅頂,如今全台竟然還有超過百家弱勢福利機構位於榮易淹水的地區,政府顯然沒有做好把關,政策上漏洞百出。銘傳大學都市規劃與防災學系主任吳杰穎接受中國時報採訪時就痛批,這些福利機構根本不應該蓋在有危險的地方,而政府也有責任公布災害風險與評估資訊,避免災害的發生。
台灣下雨時山區往往伴隨強風暴雨,山坡地容易產生土石流,所以民眾可以去接觸水土保持計畫審查的概念,對於防災措施的規劃也會更有認知。北市府工務局大地工程處日前推出「臺北市水土保持審查參考手冊」的書刊,希望民眾能在3分鐘內簡單搞懂水保計畫的概念。台北市水保技師公會理事長陳智誠表示,手冊以淺顯易懂的圖說來呈現,讓一般民眾也能充分了解專業技術。
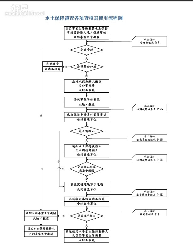
水土保持各項查核表流程圖(截取自台北市政府工務局大地工程處)

目前政府災害防救是以救災為主,但有業者認為應該要注意災害的源頭。大地處審查管理科長梁成兆則表示,山坡地施工初期表土裸露較嚴重,必須注重帆布覆蓋、砂包堆疊等臨時水保防災措施,完工階段則應注重擋土牆、排水溝設置等永久水保防災設施。現在可以藉由手冊獲得相關的坡地防災知識,手冊內容還包括各種水土保持的查核表單,提供民眾上網下載,而民眾有如果有水土保持的相關問題也可以來電或是線上進行諮詢。

